Pluto
2022-06-05
26
26
苹果汽车可能采用 VR 技术,但没有窗户
有了 VR,谁还需要窗户?
早在 2014 年,Apple 就开始开发自己的汽车。在多年的无线电沉默之后,有报道称该公司已经改变了方向,现在正在开发一种不需要代表乘客输入的自动驾驶汽车。因此,这辆自动驾驶汽车将缺少任何和所有驾驶员控制装置,包括方向盘和脚踏板。
从那时起,Apple 已经提交了几项与汽车相关的专利,以展示一些潜在的功能。也就是说,一项专利特别有趣,尤其是考虑到该公司对自动驾驶汽车重新产生了兴趣。
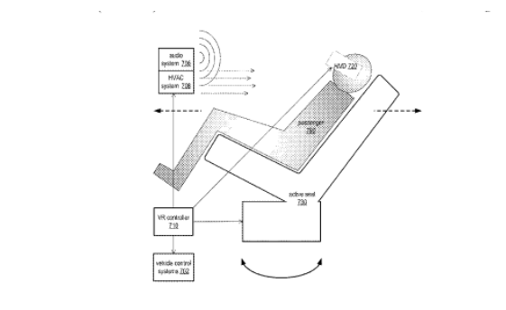
该公司此前已向美国专利商标局申请了一项车载 VR 娱乐系统专利,该系统利用车辆的运动进一步让乘客沉浸在他们的头显体验中。VR 内容与自动驾驶汽车行驶到所需位置时的运动和加速度同步,提供独特的基于位置的体验,该体验会根据您的通勤情况而变化。
除了娱乐之外,该专利还详细说明了所引用的技术如何用于减少晕动病。乘客可以通过使用他们的 VR 设备访问安装在车辆外部的摄像头来查看外部世界,而不是传统的窗户。该技术还可用于在稳定的环境中观看视频和阅读书籍,以及在旅途中进行虚拟会议。
根据过去的报道,苹果预计将在 2025 年左右推出其期待已久的自动驾驶汽车,尽管我们尚未收到该公司任何形式的官方确认。苹果过去曾申请过许多尚未公开的令人发指的商标。也就是说,如果有人能有效地向公众销售一辆没有方向盘的无窗自动驾驶汽车,那就是苹果。

